山东总队进行“指尖塑艺共传承” 妇女凝彩谱新篇活动 HAPPY WOMEN'S DAY 她力量 绽芳华 03/08 WOMEN'S DAY 三月芳菲开始,女人绽放。3月7日,在第115个“3月8日”国际妇女节之际,国家统计局山东调查总队联合德州队和齐 2025-03-09
东港:健康时尚点燃了“她的经济”新热潮 更多新闻 所有“东港发布”视频号都在 从充满活力的沿海商圈,到烟台路、淄博路一排排的商业综合体集群,再到老城区独特的ICO星光中特色商业街...连日来,日照市东港区各大商业区紧紧抓住“3月8日”妇女节 2025-03-09
中午12点迎战前世界第一!郑钦文遇到2尴尬:2次交锋全输 2025仅1胜 3 月 8 日中午 12 点击,中国网球一姐郑钦文将在 WTA1000 印第安维尔斯在第二轮对阵阿扎伦卡。在这场战争中,郑钦文期待结束。 2 情况非常尴尬。 最大的尴尬就是对阿扎伦卡从来没有赢过球。2 2025-03-09
第一台印度量产人形机器人亮相:手臂长2米,负荷200KG 快科技 3 月 8 日消息,近日,印度浦那人工智能机器人企业 Muks Robotics 推出一个名字 Spaceo 人形机器人,被称为“印度第一个人形机器人”。 该机器人的手臂可以调节,伸展范围可以 2025-03-09
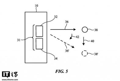
苹果专利创新红外线手势跟踪:节能型高精度,低光环境无压力 IT 世家 3 月 8 科技媒体日新闻 patentlyapple 昨日(3 月 7 日本)发布博文,报道称苹果获得了新的专利,通过可调红外线照明技术,可以进一步提高其设备的手势跟踪功能。 这种技术不 2025-03-09
参加通用汽车申请 F1 获准,凯迪拉克车队 2026 这个赛季进入了决赛 IT 世家 3 月 8 日消息,F1 今天上午,世界锦标赛正式宣布,凯迪拉克肯定会成为 2026 年第 11 支 F1 车队。 参加通用汽车申请的通用汽车申请 2026 年度国际汽联一级方程式世界锦标 2025-03-09
春风十里 芳华如你|在周宁法院进行 妇女节“三八”系列活动 春风十里 芳华如你 三月的春天,女人追逐梦想,绽放青春,熠熠生辉。3月7日,周宁法院妇委会、院机关工会女工委联合举办了一系列庆祝“三八”国际妇女节的活动,旨在庆祝第115个“三八”国际妇女节,进一步 2025-03-09
三八节特辑 | 春风十里,不如你绽放! WOMEN WOMEN WOMEN 春 风 十 里 致敬女性 不 如 绽 放 的 你 三月的春天,春暖花开 花开千枝,灼烧其华 “三八”国际妇女节如期而至。 有这样一群人在法庭上。 他们用专业和温柔 2025-03-09
热饭冷吃可以调节血糖,降低血脂? 中国人对米饭有着深厚的感情,热腾腾的饭菜香味是人们渴望回家的主要原因之一。如今,“热饭冷吃”已经成为年轻人的新趋势。据说这样可以有效降低血糖,调节血脂,甚至控制体重。真的科学吗? 冷饭之所以被认为具有 2025-03-09
三万八千张!沈阳六大景区门票免费发放!如何领取?→ 今日是“三八”国际妇女节 祝愿各位女同胞们 节日快乐 准备女性同胞 怎样过这个节日? 喜讯来啦 送出38000张沈阳六大景区 国际妇女节“三八”免费专属门票 快来赴一场 诗情画意的春日盛会 随着3月8 2025-03-09
我们在肃宁县窝北镇竞争。“温暖的女人” 与你“香”相遇”活动 三月的春风充满了鲜花。为了丰富单位女员工的精神文化生活,窝北镇妇联和窝北镇新时代文明实践所在这个属于女性的节日里,精心组织了一场温馨创意的庆祝活动,向单位所有女同事致以节日问候和美好祝愿。 现场鲜花盛 2025-03-09
张景胤再次成为关键先生:拿下12分,开球结束比赛!在常规赛中,球队将获得第二名 昨日俄罗斯超级男排联赛第一 30 在常规赛的最后一轮,别尔哥罗德只需要赢得两场比赛就可以锁定前一轮。 4 直接进入季后赛,全拿三分就能拿到常规赛亚军。而且主场作战的雄狮队不负众望,以此来对付。 3-0 2025-03-09
“零跑,全线”,一键即可转移! “没想到现在跨地区迁移这么方便,整个过程都可以在线办理。”日前,才赋数字科技(上海)有限公司不得不办理多项跨地区迁入业务。公司经理谢峰说,我以为过程会很繁琐。没想到现在只要在网上提交一次材料,就能实现 2025-03-09
龙法信息黑龙江法院新闻速度 为您带来一周的法院信息。 (3.1-3.7) 牡丹江中院 牡丹江市中级人民法院联合市法学会、市妇联召开新闻发布会,重点发布依法维护妇女权益的经典案例。 佳木斯中院 佳木斯中级人民法院联合市教育局组织召 2025-03-09
积极拥抱人工智能时代!蓬江工会干部集中学习DeepSeek 为了跟上科技时代的浪潮,进一步提高全区女职工和工会干部的综合素质,让AI更好地赋能工作和生活。3月4日,结合3月8日妇女节的到来,蓬江区总工会与广东省科学院江门产业技术研究院联合,组织区直机关、镇、街 2025-03-09
【汇南粤百万人才】蓬江区举办“企业传承与高管引进”沙龙活动 近日,我区在杜阮镇凉瓜镇举办“企业传承与高管引进”沙龙活动,为推动我区经济高质量发展,帮助“百县千镇万村高质量发展工程”取得成效,满足新形势下公司发展对人才素质提升的要求,吸引了我区近50名制造业和高 2025-03-09
决定!深中大桥“最美天慕”重归!时间就在… “出道即巅峰” 讲述的是深中大桥 自去年年中通车以来 深中桥梁屡屡爆红 不只是因为它缩短了 深圳-中山通行距离 还因为 那是一条美丽的海上高速公路。 近来有许多想打卡深中大桥的小伙伴问 "深中大桥晚上 2025-03-09
“益起为她 “筑梦芳华”-2025妇女基会妇女关爱公益行走进泉州 三月五日至七日,由中国妇女发展基金会和福建省妇联联合主办的“益起为她” 筑梦芳华”-2025 福建省泉州市开展妇女基会妇女关爱公益活动。活动聚焦当地困境妇女和非物质文化遗产技术从业妇女,通过一系列公益 2025-03-09
伊春中级人民法院第七党支部阅读分享:《将军与他的树》和《家乡慢慢明亮》 《将军和他的树》 伊春中院第七党支部法警支队 姜悦 看完《将军和他的树》,我的心久久不能平静。书中的故事看似简单朴素,却蕴含着震撼人心的力量,让我对生活、坚持、奉献有了全新的认识。 这个故事讲述了一个 2025-03-09
伊春中级人民法院第六党支部阅读分享:《我们三人》和《长安荔技》 《我们仨》 伊春中院第六党支部执行局 刘爽 《我们三个》是杨绛先生在人生的暮年,用一丝不苟的画笔回顾了丈夫钱钟书和女儿钱女钱女一家三口的作品。合上书,我的心里充满了对这个温暖而暴风雨的家庭的感动和敬意 2025-03-09