百亿成交实锤!广州顶豪实力打脸质疑者
保利这波操作真是让人眼前一亮!
今天要聊的就是前段时间开盘的广州面粉厂项目——保利玥玺湾。
项目开盘时就放出豪言,单日销售额达106亿元,成为今年全国唯一单日破百亿的项目。
其定位之高,甚至不屑与广州本地豪宅比较,直接剑指全国顶豪市场。

消息一出,不少人开始质疑:
106亿的销售额,真的可信吗?
肯定有水分,就看水分多少了...
就算每套房子3000万以上,广州豪宅市场一年也就卖两三百套,这数据太夸张了。

近10年广州套均3000万+住宅成交
然而,事实却狠狠打了质疑者的脸!
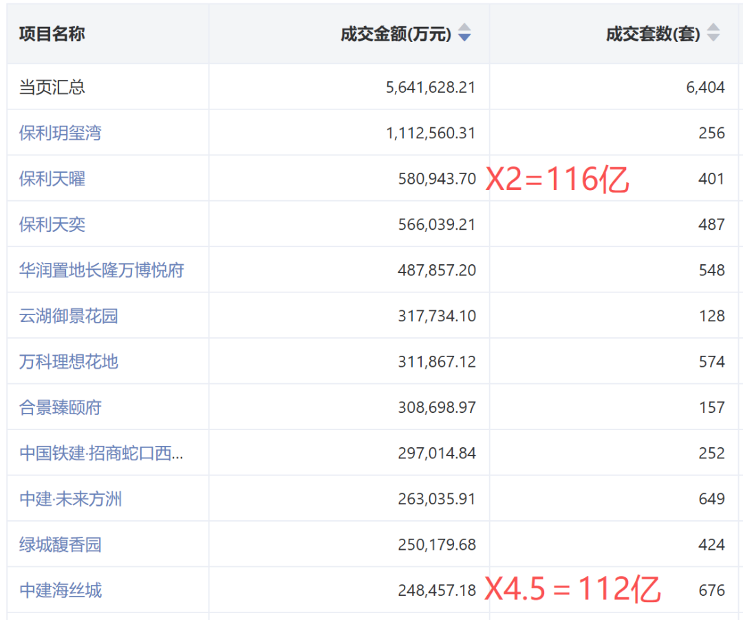
查询官方网签数据发现,保利玥玺湾已网签256套。
阳光家缘的官方数据,可不存在造假的可能。

截止至11月30日数据
销售额方面,中指院数据显示已超111亿元。
没错,真实网签金额比当初宣称的106亿还要高!
这简直是反向“虚标”,就像电动车官方标续航600公里,实际能跑700公里一样。

来源:中指院
那些质疑的人,怕是要后悔当初的言论了!
1. 开盘即巅峰,业绩碾压同行
保利玥玺湾一天完成的销售额,相当于其他项目一年的业绩,这哪里是开盘,分明是“开挂”。
今年广州销量前十的楼盘,最高网签额不足60亿。
别人还在努力冲刺,玥玺湾已经站在终点线了。

1~11月广州网签金额TOP10(来源:中指院)
更惊人的是,该项目单盘单次推售就跻身全国前四,让同行望尘莫及。

一位豪宅操盘手吐槽,保利这波操作让同行压力山大。
以前卖不好可以怪市场,现在老板直接拿玥玺湾的数据对比,让他们无话可说。

要知道,100多亿的销售额,比六成A股上市公司的市值还高!
这也印证了地产作为支柱产业的重要性。
2. 广州藏富于民,富豪群体实力雄厚
很多人疑惑,广州哪来这么多买得起豪宅的人?
别被“广州人只会喝茶”“产业老化”的刻板印象误导了。
保利玥玺湾成交房源均为3000万起步,超3成单位总价超5000万,仍有不少人全款抢购。

胡润数据显示,广州亿万资产家庭达4400户,一半以上能拿出1亿现金买房。

融捷吕向阳夫妇身家超比亚迪王传福,排名全国富豪榜第13位,就居住在广州。

企业方面,小鹏汽车、名创优品、三七互娱等知名企业均来自广州。
全球独角兽榜中,希音、埃安等11家广州企业估值破百亿,背后老板多为新兴富豪。

来源:广州日报
此外,广州还有很多隐富群体,如服装厂、灯具行业的老板,他们买房如同买菜。
而且,买广州顶豪的不只是本地人,全国富豪都在抢。
大湾区有354位全国级富豪,买套顶豪当门面很正常。



保利玥玺湾的热销还带动了广州3000万+豪宅市场,珠江新城的凯旋、汇悦台等项目带看量明显增加。
这说明富豪群体正在“换仓迭代”,市场充满活力。
3. 顶豪热销背后的逻辑
保利玥玺湾的火爆并非偶然,一线城市+珠金琶CBD+一线江景的组合,想不火都难。
但能卖到100多亿,还是超出了很多人的预期。
今年连上海顶豪都没这么疯狂,可见广州顶豪市场的潜力。
从资金层面看,10月末全国存款余额332万亿,广东占38万亿,大量资金需要寻找出口。

股市上涨带来的财富效应,也让资金流向楼市。
同时,海外资产不确定性增加,人民币升值,国内经济韧性凸显,让顶豪成为资金的安全选择。

保利玥玺湾的地块是广州10年才出让的优质地块,开发商也在产品上下足功夫,如11米抬升浮岛、八衡科技系统等。

未来趋势很清晰:科技创造财富,地产储存财富;80%的房子回归居住属性,5%的顶豪则是资金的“避风港”。
最后总结:在广州,买500万房子的人是因为只有500万,而买5000万房子的人,不是因为只有5000万,而是因为项目值这个价。
本文仅代表作者观点,版权归原创者所有,如需转载请在文中注明来源及作者名字。
免责声明:本文系转载编辑文章,仅作分享之用。如分享内容、图片侵犯到您的版权或非授权发布,请及时与我们联系进行审核处理或删除,您可以发送材料至邮箱:service@tojoy.com





