小米SUV隐藏门把手被吐槽,雷军评论区沦陷
2024-12-11
今年3月,小米SU7上市。发布会上,小米董事长雷军大篇幅介绍了小米SU7的半隐藏门把手。车型上市后,这种设计也得到了大量车主的认可。然而,12月9日晚,小米首款SUV-小米YU7登陆工业和信息化部。身份证照片显示,这款车似乎放弃了半隐藏门把手,改用了真正的全隐藏门把手。


目前,大量网民对小米弃用半隐藏门把手感到不满。在雷军个人评论区,很多人希望小米能给出解释,甚至直接改回半隐藏门把手。相关评论获得了近4000个好评。

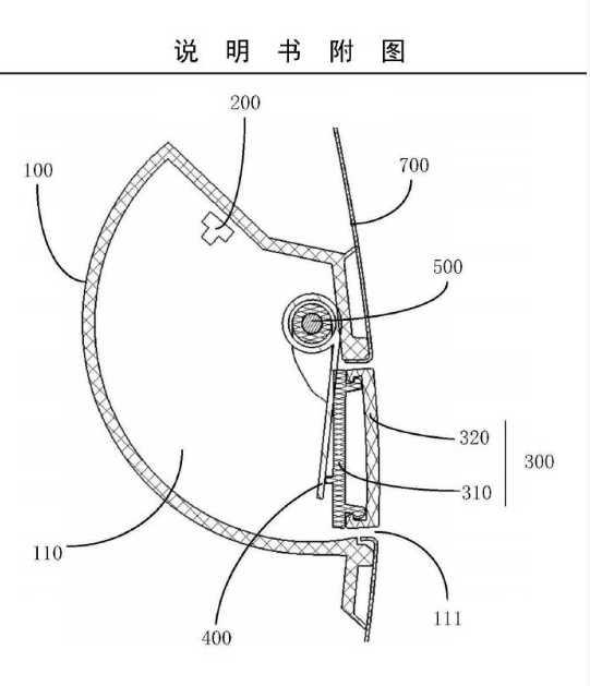
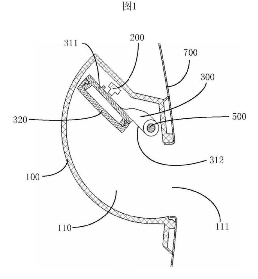
不过,CNMO注意到,虽然工业和信息化部的照片显示,小米YU7的门把手设计与小米SU7不同,但根据之前的专利申请,小米YU7的门把手可能并不像大家想象的那样弹出,表面可能只是一个盖子。打开后,用户可以伸手进去打开车门,这是小米SU7半隐藏门把手的升级版。

但是在发布之前,小米官方还没有公布YU7门把手的设计细节,以上只是根据专利推断。

根据工业和信息化部的数据,小米YU7的长宽高分别为4999mm/1996mm/1600mm,轴距为3000mm,配有前后双电机,电机型号为YS210XY103/TZ220XY109,最大功率为508KW,整车质量为2405kg。
本文仅代表作者观点,版权归原创者所有,如需转载请在文中注明来源及作者名字。
免责声明:本文系转载编辑文章,仅作分享之用。如分享内容、图片侵犯到您的版权或非授权发布,请及时与我们联系进行审核处理或删除,您可以发送材料至邮箱:service@tojoy.com




