投资者和炒房者少了,法拍房也卖不出去?

深圳半岛城邦小区 日常经济新闻资料图
不久前,深圳最贵的法拍豪宅50万元/平方米,在各大平台霸屏。
但是这种情况并不正常。
根据中指研究院的数据,2024年上半年,全国法拍市场累计成交约7.85万套房屋,比2023年7.42万套房屋增加约5.8%,而总成交额为1537.3亿元,比去年同期减少约43.2亿元。
7月29日,北京一河律师事务所律师戴金花向《国家商报》记者透露,目前拍卖市场的房屋竞价更多的原因是业主无法按时偿还债务,履行法院判决的能力下降。
1
上市数量较多,但价格下降。
对于一些业内人士来说,法拍房一直是房地产市场的重要观察指标。
“我们通常把拍卖行市场的房屋交易作为市场二手房交易的价格底线。事实上,拍卖行的交易也会影响二手房市场。”在深圳从事房地产中介工作的刘小伊告诉每一位记者。
上半年,全国法国拍卖行挂牌数量仍在上升,但整体成交量明显下降,呈现出较为明显的涨价下跌。
根据中指研究院的数据,法拍房屋的成交,已占整个法拍市场的近一半。

上半年各物业类型拍卖项目中,拍卖房屋交易截至拍卖53000件,总成交额765.3亿元,占各类拍卖成交额的49.8%。
商业拍卖行和工业、土地、停车位等物业类型的交易量也有所增加,分别为1.53万件和1.05万件,其中商业住房交易量同比增长3.8%,而工业、土地、停车位等物业类型的交易量同比减少2.8%。
但是总成交额和平均成交价格下降。
2024年上半年,与去年同期相比,全国各类拍卖行的总成交额略有下降,平均成交价格从2023年同期的5584元/平方米下降到5147元/平方米。
在这些房屋中,法拍房屋的平均成交价格从去年同期的9606元/平方米下降到9075元/平方米。
在中国企业资本联盟副主席柏文喜看来,成交价格下跌与市场预测、法国拍卖行供应增加和买家更加谨慎有关。为了促进拍卖产品的流动,拍卖产品的定价普遍低于市场水平,一些消费者为了抵消房价下跌的空间,在拍卖市场寻找机会。
“拍卖行的折扣率也有所提高。上半年拍卖行的成交价格一般相当于评估价格的七七折。与去年上半年的八三折相比,投标人可以获得更多的折扣。”柏文喜说。
上海光明律师事务所律师付永生提到,随着法国拍卖行的增加,律师事务所的相关业务也在增加。但是法国拍卖行的“水”太深,有一定的风险。
“(拍卖市场)一般买家少,专业投资者多,炒房者多,而专业投资者本身就有一定的法律知识,熟悉一些行业律师。”付永生说。
2
打折法拍卖行,反过来影响二手房市场
对刘小伊来说,法拍房的折扣,与当前二手房市场的以价换量非常相似。
财经评论员张雪峰也向每一位经典记者表达了类似的观点。法国拍卖行的价格在一定程度上为当地二手房市场提供了价格参考。如果法国拍卖行的价格下降,会影响买家的价格判断,进一步影响二手房市场的活跃度和价格。
根据每一位记者的观察,目前大部分法拍房与二手房市场相比,折价现象更加明显。
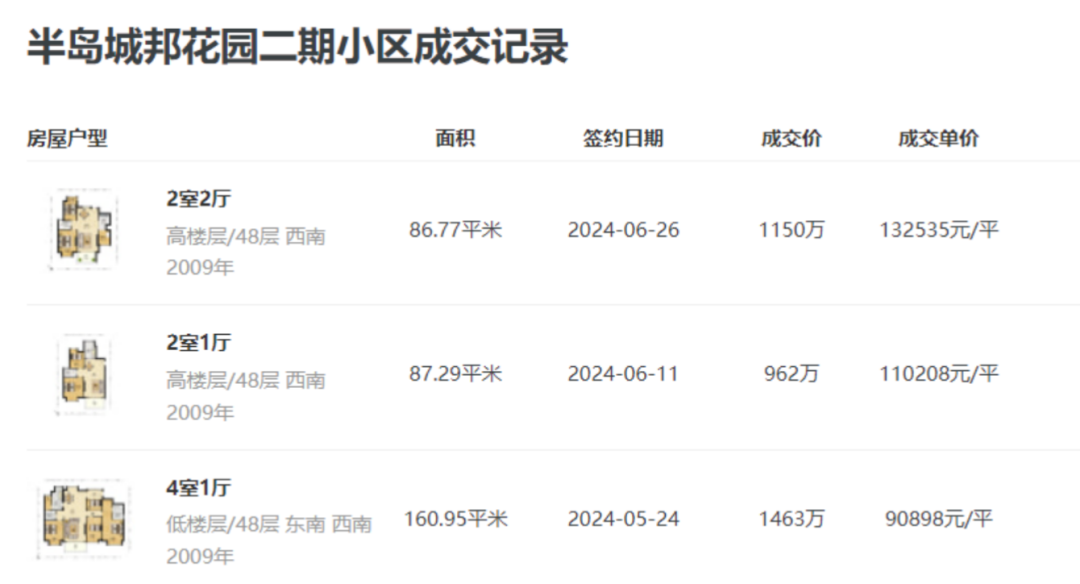
以深圳半岛城花园项目为例,今年7月19日,一套二期拍卖行成交,面积244.56平方米,总价约2228.5万元,折算价约9.11万元/平方米。
目前小区二手房平均挂牌价格基本在12万元/平方米以上,实际成交价格也在10万元/平方米以上。在链家平台上,今年6月出售的半岛城邦花园二期86.77平方米房屋成交价格为1150万元,折算价格约为13.25万元/平方米。

七月二十六日,阿里法拍卖的一套万科云城三期房,总成交价625万元,面积133.77平方米,算下来价格只有4.67万元/平方米。
但是在二手房市场,目前万科云城三期业主的挂牌价格基本在每平方米5.95万元之间,实际成交均价在每平方米5.36万元之间。
在链家平台上,同一套133.75平方米的万科云城房屋,业主挂牌价格860万元,折算价格6.4万元/平方米,挂牌时间为8个月前。
在柏文喜看来,法国拍卖行的折扣主要影响潜在买家的想法和二手房业主的定价策略。“一方面,法国拍卖行的低价可能会吸引一些买家,进而影响二手房市场的供求关系;另一方面,法国拍卖行的成交价格也可能成为二手房市场的价格参考。”
本文仅代表作者观点,版权归原创者所有,如需转载请在文中注明来源及作者名字。
免责声明:本文系转载编辑文章,仅作分享之用。如分享内容、图片侵犯到您的版权或非授权发布,请及时与我们联系进行审核处理或删除,您可以发送材料至邮箱:service@tojoy.com




