万达集团新增4亿被执行信息
09-12 07:06
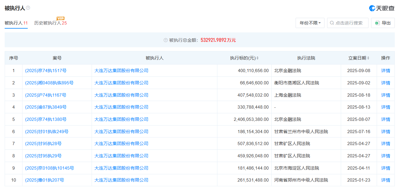
财联社9月11日消息,天眼查数据显示,近日,大连万达集团股份有限公司新增一条被执行人信息,执行标的达4亿余元,执行法院为北京金融法院。

大连万达集团股份有限公司成立于1992年9月,法定代表人是王健林,注册资本10亿人民币,其经营范围涵盖货物进出口、技术进出口、国内一般贸易等。股东信息表明,该公司由大连合兴投资有限公司和王健林共同持股。
天眼风险信息显示,该公司目前有11条被执行人信息,被执行总金额超52亿元,并且该公司所持多家公司股权已被冻结。

本文仅代表作者观点,版权归原创者所有,如需转载请在文中注明来源及作者名字。
免责声明:本文系转载编辑文章,仅作分享之用。如分享内容、图片侵犯到您的版权或非授权发布,请及时与我们联系进行审核处理或删除,您可以发送材料至邮箱:service@tojoy.com




