热搜爆炸,王健林还有大麻烦?
核心提示:
1、近年来,王健林在赌博上市失败后,不断推进万达资产优化,包括78个万达广场、万达酒店和万达电影股份的销售。与此同时,万达商业管理一直在加大“借钱”的力度。截至2024年前三季度,公司短期贷款38.9亿元,同比增长190.47%,长期贷款达到106 4.61亿元,同比增长近14%。
2、万达集团自2024年起被执行总额超过75亿元,并于2025年再次冻结80亿元。
3、与2021年同期相比,万达广场规模扩大但效益下降,在新增数百个广场的情况下,2025年五一客流量下降近千万,销售额大幅下降51亿元。
-----------------------------------------
2017年,王健林在年会上高歌《一无所有》,被网友称为“顶级凡尔赛”,“除了钱什么都没有”。

八年过去了,当初的年会歌声早已消退,如今的王健林虽然没有达到“一无所有”的境地,却不得不背负沉重的债务。
五月二十六日,一个“王健林再卖48个万达广场”的话题将王健林推向舆论中心。

以前的商业帝国,现在正以“卖卖”的方式收缩前线,甚至连过去的“心头肉”都要卖掉。
不禁要问,王健林怎么了?
01
断臂求生,王健林再次出售48个万达广场
一个多月后,王健林又开始了销售方式!
根据国家市场监管总局近日披露的信息,太盟(珠海)管理咨询合伙企业(有限合伙)(以下简称“太盟珠海”)、高和丰德(北京)企业管理服务有限公司(以下简称“高和丰德”)、腾讯控股有限公司(以下简称“腾讯控股”)、北京潘达商业管理有限公司(JD.COM100头寸,下面简称“京东潘达”)、阳光人寿保险有限公司(以下简称“阳光人寿”)直接或利用各自关联方设立合资企业,通过合资企业收购大连万达商业管理集团有限公司(以下简称“大连万达”)直接或间接持有的48家目标公司的100%股份。

48家目标公司分布在北京、上海、广州、合肥、重庆、天津、武汉等40个城市,包括北京万达广场企业管理有限公司、上海万达广场投资有限公司、广州万达广场投资有限公司、合肥天鹅湖万达广场投资有限公司等。

对此交易的具体金额等情况,在公告信息中没有透露。
事实上,这已不是王健林第一次出售万达广场,据媒体不完全统计,近两年来,王健林已销售超过78个万达广场。
但是根据万达的宣传资料,截至2024年底,全国共有513个万达广场。
不仅如此,就在上个月,王健林刚刚向同程旅行旗下公司出售了万达酒店,当时计划以24.97亿元出售。
根据万达酒店的发展,交易预期净额为24亿港元,建议将所有或大部分收入分配给股东,控股股东通过后为大连万达,后者控股比例约为65.04%。根据控股比例,大连万达可回笼资金约15.6亿港元。
02
豪赌失败
回顾过去,凤凰网财经《公司研究院》发现,自2017年以来,王健林实际上一直在出售资产。
归根结底,2016年从港股退市后,万达商业需要在港股退市两年后或2018年8月31日前在mainlandChina主板上市,才能在a股上市,签订赌博协议。如果失败,万达将支付高达400亿港元进行股权回购。
但是直到2017年,万达仍然在a股苦苦排队,再加上海外项目的惨遭停贷,2019万达的债务一度达到近3000亿元。
当时,万达文化已经成为首个出售资产和减少债务的业务领域。其13个项目的91%股份以438亿元出售给融创,77家酒店以199亿元出售给R&F,万达文化的旅行社业务也转让给同程旅游。
2024年3月,万达商业管理成功引进了五项战略投资,包括太盟投资集团、阿布扎比投资局、穆巴达拉投资公司、中信资本和ARES,获得了约600亿元的战略投资。在资本市场运作方面,大连万达集团在2024年3月11日至18日期间,通过其子公司莘县融智,累计减持万达电影2511.77万股,按区间均价计算套现超过3亿元。
此前,王健林还通过“脱手”万达电影控制权,套现资金超过20亿元。
03
80亿股被冻结
各式各样的销售下,本以为王健林“轻舟已经过了万重山”,可没想到的是,王健林的烦恼才刚刚开始。
永辉超市于2024年10月起诉大连御锦贸易有限公司,要求支付36.39亿元的股权转让余额和违约金,并追究王健林等担保人的连带责任,总额达到38.59亿元。同月,苏宁易购申请仲裁,要求万达集团支付50.4亿元回购款,并主张万达商业管理承担责任。
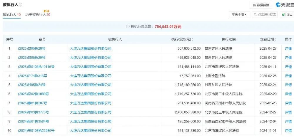
今年3月,万达新增股权80亿元被冻结。根据爱企查的风险信息,3月20日,北京万达文化产业集团有限公司新增股权冻结信息,被执行人为大连万达集团有限公司,冻结股权金额80亿元。冻结期为河南省郑州市中级人民法院,自2025年3月18日至2028年3月17日。
就被执行人信息而言,2月25日,大连万达集团被上海金融法院执行超过4775万元;2月24日,甘肃矿区人民法院执行17.1亿元;2月20日,北京市第二中级人民法院执行17.2亿元。截至目前,大连万达集团已执行总额超过75亿元。

04
王健林“心头肉”背后的隐患
值得注意的是,万达广场一直被视为王健林的心头肉。
赌博上市失败后,2019年初,他曾表示万达商业管理是万达的核心企业,“我可以放任何企业,这个企业不能放”。
万达商业管理主要有两个项目,一个是万达广场,另一个是酒店业务。
凤凰网财经《公司研究院》发现,截至2024年前三季度,公司营业收入399.26亿元,同比增长2.83%,上半年同比增长5.5%,净利润97.79亿元,较2023年同期下降11.55%。
另外,经营活动产生的净现金流量约为16 投资活动产生的现金流净额为-139.03亿元,投资活动产生的现金流净额为-11.6亿元,为4.46亿元。
根据2024年上半年的数据,万达商业管理的毛利率为65.62%。其中,投资物业租赁和管理业务占总收入的90.87%,收入243.99亿元,同比增长5.6%,毛利率从69.4%提高到71.37%;
而且酒店经营收入从7.8 9亿元下降到5.98亿元,毛利率下降到36.32%。
所以,从业绩数据来看,万达的表现还是不错的。
然而,万达商业管理一直在增加“借钱”的幅度。截至2024年前三季度,公司短期贷款38.9亿元,去年同期为13.39亿元,同比增长190.47%;长期贷款106 与2023年底相比,4.61亿元增加了130.57亿元,同比增长近14%。
凤凰。com财经研究院发现,万达商业账户中最大的资产是固定资本-投资性房地产。为了缓解资本端的压力,出售资产已经成为最直观的方式。

不仅如此,万达广场的经营压力也逐渐显现出来。根据万达集团官网的数据,2021年五一黄金周5天,全国369个万达广场累计客流1.4亿人,累计销售额111亿元。
今年,万达在宣传口径上表示,超过1.3亿人来到万达广场享受美好生活,累计销售额超过60亿。五一期间,万达广场200多人来访,同比增长10%以上。
特别要注意的是,截至2024年底,全国共有513个万达广场。
也就是说,同样的五天假期,比2021年多了几百个万达广场,2025年万达的人流量减少了近千万,累计销售额比2021年同期减少了51亿元。
本文仅代表作者观点,版权归原创者所有,如需转载请在文中注明来源及作者名字。
免责声明:本文系转载编辑文章,仅作分享之用。如分享内容、图片侵犯到您的版权或非授权发布,请及时与我们联系进行审核处理或删除,您可以发送材料至邮箱:service@tojoy.com






