姚晨官宣与曹郁离婚 双方仍存商业关联
3月16日,演员姚晨发布离婚声明,以“山水一程,三生有幸。缘来缘去,皆是欢喜”的文字,平静宣告了与丈夫曹郁的婚姻结局。

姚晨在声明中透露,她与曹郁的婚姻关系其实在多年前就已结束,只因当时孩子尚幼,才未对外公开这一消息。

公开资料显示,姚晨1979年10月5日生于福建福州,祖籍泉州石狮,成长于南平,是中国内地知名影视女演员,毕业于北京电影学院99级表演系。
2006年,姚晨因出演电视剧《武林外传》中郭芙蓉一角崭露头角,并凭借该角色获得第18届北京大学生电影节最受欢迎女演员奖;2010年,她又凭借《潜伏》里的王翠平,拿下第2届华鼎奖电视剧盛典最佳女主角奖。
姚晨的第一段婚姻是与演员凌潇肃,两人2003年结婚,2011年1月宣布离婚。2012年,姚晨与曹郁步入婚姻殿堂,婚后育有一子一女。
曹郁出生于1974年8月15日,1991年毕业于北京电影学院本科故事片摄影专业,是国内资深的摄影指导与监制。
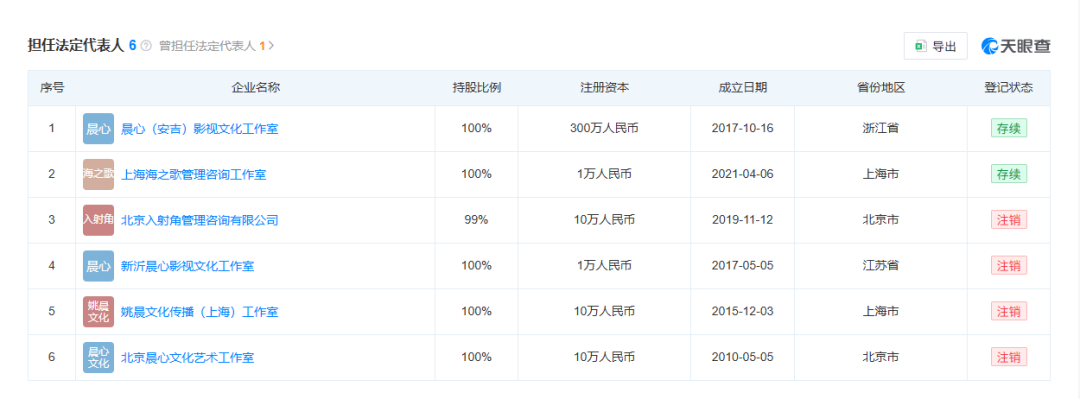
天眼查信息显示,姚晨名下关联6家企业,目前有2家处于存续状态,分别是晨心(安吉)影视文化工作室和上海海之歌管理咨询工作室,业务涵盖影视文化、管理咨询等领域,姚晨在这两家企业中担任执行董事、经理等职务。


天眼查的关系信息还显示,姚晨与曹郁曾共同关联的北京入射角管理咨询有限公司,已于2024年5月完成注销。
值得注意的是,坏兔子(上海)影业有限公司成立于2016年8月,法定代表人为姚辉岩,注册资本300万元,经营范围包括营业性演出、文化艺术交流策划、影视策划咨询、企业形象策划、摄影摄像等。通过股权全景穿透图可以看到,该公司由姚晨名下的上海海之歌管理咨询工作室持股80%,曹郁名下的上海圆舞曲管理咨询工作室持股20%,双方在这家企业中仍存在商业关联。
综合自:九派新闻、天眼查
本文仅代表作者观点,版权归原创者所有,如需转载请在文中注明来源及作者名字。
免责声明:本文系转载编辑文章,仅作分享之用。如分享内容、图片侵犯到您的版权或非授权发布,请及时与我们联系进行审核处理或删除,您可以发送材料至邮箱:service@tojoy.com




