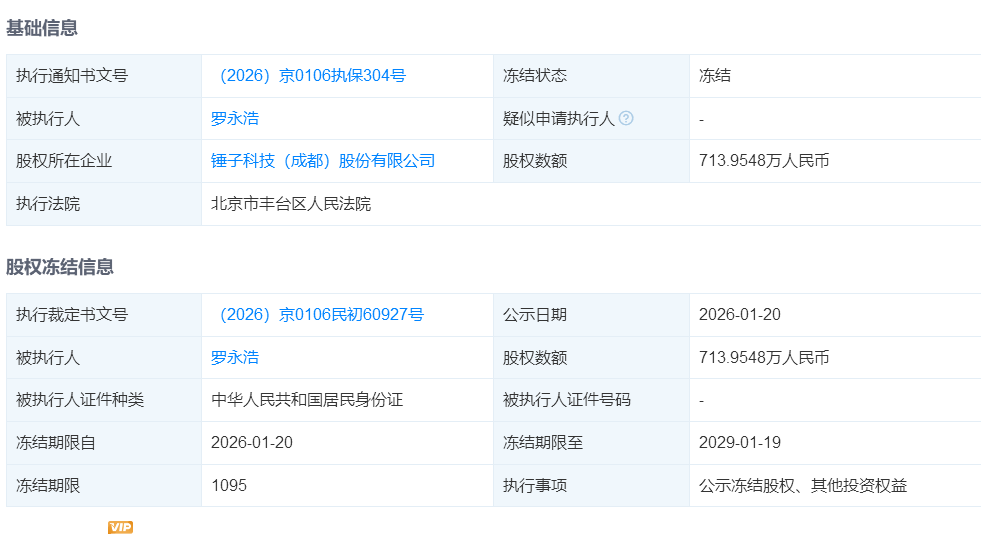
罗永浩名下新增约714万股权冻结记录
凤凰网财经1月22日消息,据天眼查风险信息显示,罗永浩名下新增一则股权冻结信息,其持有的锤子科技(成都)股份有限公司约714万元股权被司法冻结,冻结期限从2026年1月20日持续至2029年1月19日,执行法院为北京市丰台区人民法院。

公开资料显示,锤子科技(成都)股份有限公司成立于2012年5月,法定代表人为管志良,注册资本约3149.8万元,主要从事中高端智能手机、智能工作站及生态链产品的设计、研发与销售业务。
在股权结构方面,罗永浩担任公司董事长,持股比例约22.67%,是该公司的受益所有人和实际控制人,同时与成都东方广益投资有限公司、北京明匠汇智投资管理合伙企业(有限合伙)等共同为公司主要股东。此次被冻结的股权,正是他在该核心主体所持有的资产份额。
需要注意的是,这并非罗永浩首次因债务纠纷面临股权冻结。
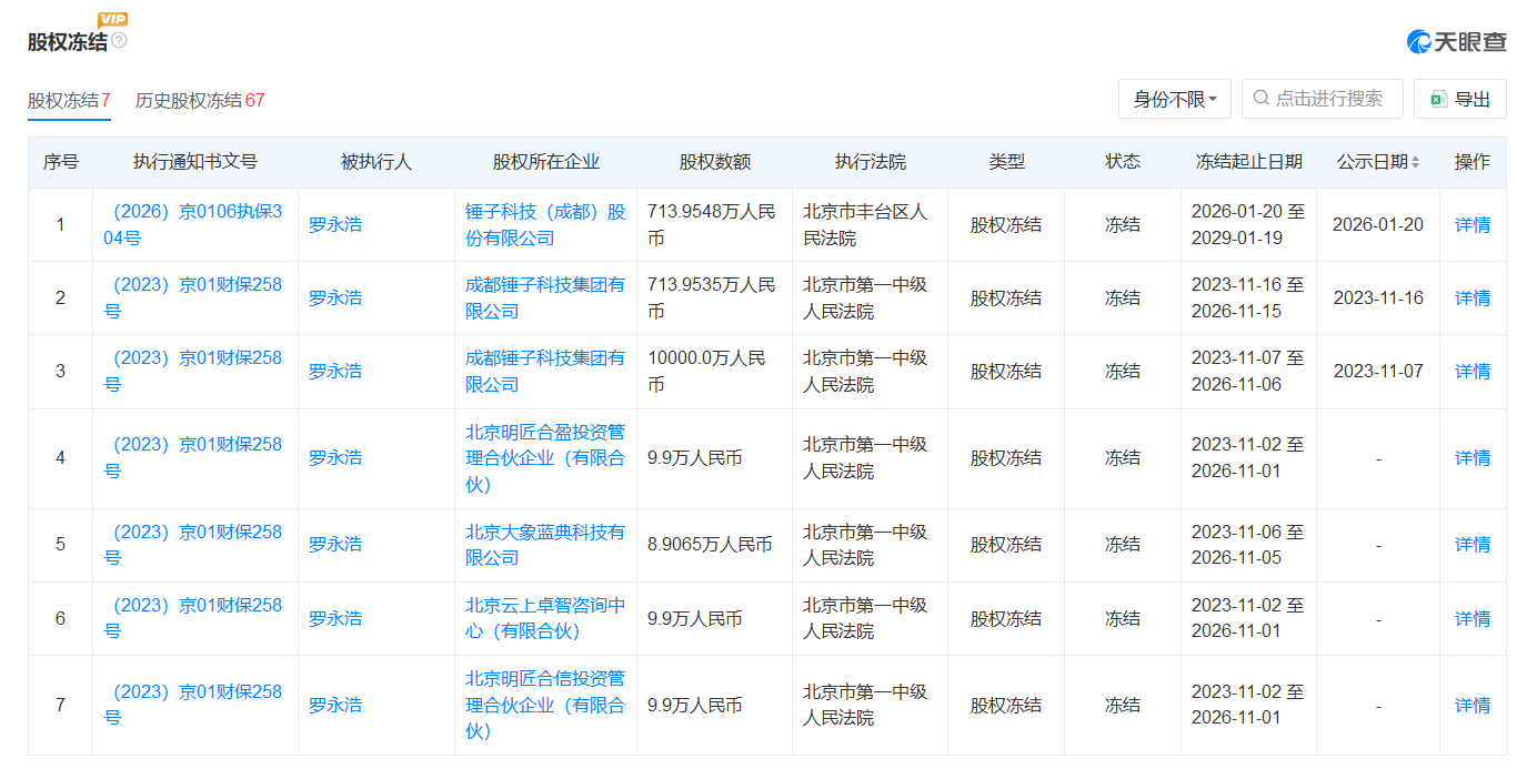
天眼查数据显示,此前罗永浩作为被执行人已有多条股权冻结记录,均由北京市第一中级人民法院执行,冻结期限为2023年11月16日至2026年11月15日。

据天眼查信息,目前锤子科技(成都)股份有限公司仍存在多项法律风险,包括2条失信被执行人信息、1条被执行人信息、2条限制高消费信息,此前法院判令其履行的执行标的总计超过2142万元,涉及多起借款纠纷与合同纠纷。其中,2025年6月紫辉创投CEO郑刚与锤子科技的1500万借款诉讼二审维持原判,锤子科技需偿还借款本金、利息并承担诉讼费用,这是其债务问题的重要组成部分。

2024年9月,罗永浩曾公开表示已还清所有债务,总额达8.24亿元,远超最初公布的6亿余元,额外增加的部分主要来自官司纠纷的赔偿及滞纳金罚款。从法律层面而言,罗永浩的个人债务已清偿完毕,此次股权冻结本质上是锤子科技作为主体的债务纠纷引发的司法措施,并非他个人新增债务。


本文仅代表作者观点,版权归原创者所有,如需转载请在文中注明来源及作者名字。
免责声明:本文系转载编辑文章,仅作分享之用。如分享内容、图片侵犯到您的版权或非授权发布,请及时与我们联系进行审核处理或删除,您可以发送材料至邮箱:service@tojoy.com




