忠旺系君康人寿将变身,山东国资牵头富泽人寿获批成立
11月10日,国家金融监督管理总局官网消息显示,富泽人寿保险股份有限公司(以下简称“富泽人寿”)于今年6月10日正式获批保险许可证。
这家新成立的保险公司位于山东省济南市,其业务范围广泛,涵盖了人寿保险、健康保险、意外伤害保险等各类人身保险,还有上述业务的再保险以及法律法规允许的保险资金运用等方面。

工商信息表明,富泽人寿于今年6月19日成立,注册资本达170亿元。公司共有4家股东,其中济南金投控股集团有限公司(以下简称“济南金控”)、济南政金通达投资集团有限公司由山东国资全资持股,这两家公司分别持有富泽人寿49.71%、3.53%的股份,二者合计占比53.24%,超过半数。
另外,中国保险保障基金有限责任公司、中国人保资产管理有限公司分别持有富泽人寿35.29%、11.47%的股份。
从保险许可证可知,富泽人寿的机构住所位于济南市历下区解放东路3 - 21号金控大厦16层、17层,而公司第一大股东济南金控的地址同样在金控大厦。
富泽人寿的董事长、法定代表人为冯毅,冯毅今年43岁,现任济南市地方金融监督管理局局长。富泽人寿的总经理是谢祝锋,谢祝锋出生于1977年,曾担任中邮人寿副总裁、财务负责人等职务,今年10月从中邮人寿卸任。
据多家媒体报道,富泽人寿的成立并非简单的市场扩容,而是为化解君康人寿风险所做的重要安排,未来它将承接君康人寿的资产和负债。
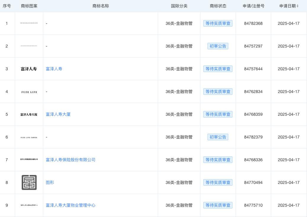
商标信息显示,今年4月,君康人寿作为申请人已递交了多个“富泽人寿”的商标注册申请,包括“富泽人寿大厦”“富泽人寿保险有限公司”以及富泽人寿的logo等。

君康人寿的前身昭德人寿成立于2006年,此后经历了多次更名和大股东变更。2013年后,杉杉集团进入股东行列,并通过增资巩固了地位,2015年7月,公司正式更名为“君康人寿”。
2017年,辽宁知名铝加工企业忠旺集团入主君康人寿,该集团通过宁波市鄞州鸿发实业有限公司持有其50.88%的股份,忠旺集团实控人刘忠田成为君康人寿实控人,君康人寿董事长由忠旺控股总裁路长青担任。
忠旺集团入主一年后,君康人寿收到原保监会监管函,被指出在股东股权、“三会一层”运作、内部管控机制、关联交易管理等方面存在问题。同时,原保监会明令,六个月内禁止君康人寿直接或间接与辽宁忠旺集团有限公司、杉杉控股有限公司及关联方开展财务资助和资金运用类关联交易。
2019年,忠旺集团“爆雷”,君康人寿也受到牵连。2019年年报显示,君康人寿的营收为393.62亿元,同比增长4.94%,但归母净亏损19.11亿元。到2020年三季度末,君康人寿的核心偿付能力充足率仅为102.47%。
此后,君康人寿再未发布年报及偿付能力报告。此前公司发布公告称,2020年至2024年年报将延期披露,预计披露时间不晚于2025年12月31日。
本文来自微信公众号“大摩财经”(ID:damofinance),作者:达摩财经,36氪经授权发布。
本文仅代表作者观点,版权归原创者所有,如需转载请在文中注明来源及作者名字。
免责声明:本文系转载编辑文章,仅作分享之用。如分享内容、图片侵犯到您的版权或非授权发布,请及时与我们联系进行审核处理或删除,您可以发送材料至邮箱:service@tojoy.com




