苹果自研关键芯片:全局快门堆叠像素传感器专利解析
此前在《苹果自研图像传感器? 一项专利惊艳亮相》中,我们介绍过苹果公司发布的“具有高动态范围和低噪点的堆叠像素图像传感器”专利。
近日有新消息显示,苹果正为能瞬间定格整个场景的手机摄像头打基础,也就是全局快门。一项全新专利证实了这一点,它意味着能实现更清晰的运动画面、更少的闪烁带以及更专业的视频效果,下面为大家带来简易解读。

想象裁判喊“停”,所有人同时停下,摄像机记录下一切。因为同时停止,直线能保持笔直,LED墙和舞台灯光效果更好,拍摄比赛时“闪光灯”的使用也更方便。下面是一些原理:
1、卷帘快门是逐行读取图像,快速运动时会让直线物体弯曲并产生抖动。
2、全局快门在同一时刻抓取每个像素,然后再进行读取。
3、苹果的专利显示,每个像素内部有微小的“等候室”,可让手机一次性定格整个画面,这是个很棒的创意。基于此应用,大家可以探索以下方案。

接下来,用简单英语解释苹果的专利。
把每个像素想象成三层的堆栈,一楼是采光处、二楼是小型候诊室、三楼是将光转换成数字的微型仪表。

具体工作原理如下:曝光时,第一层充满光线。冻结时刻,每个像素同时将光线从第一层移动到第二层,整个画面就被锁定。然后,手机逐行将保存的光线从第二层移动到第三层,从而生成照片。中间层是关键,它为每个像素提供专属“停驻点”,存放冻结的图像。

那么,苹果的做法有何不同呢?
苹果是向上建造,而非横向建造。目前市面上很多设计是把“候诊室”放在聚光灯旁边,会占用空间和光线。苹果将通道垂直堆叠,节省更多采光空间。
其中,中间层承担存储图像和帮助移动图像两项任务,使像素紧凑,便于手机操作,定格画面中杂散光更少。专利描述了快门“关闭”时保护“候诊室”的防护罩和沟槽,能实现更清晰的定格画面和图像。图纸包含用于自动对焦的背照式照明和分割像素,这些是密集智能手机传感器的工具,而非笨重的实验室零件。

苹果对这项专利的自述
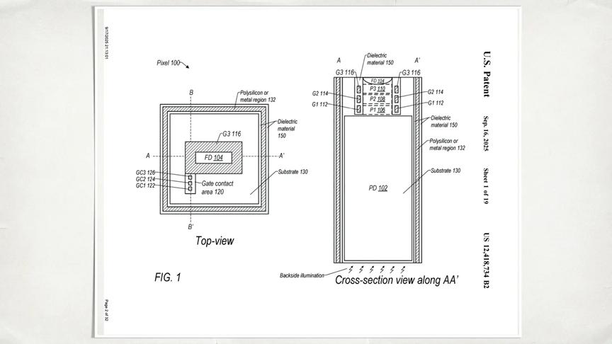
苹果称,图像传感器包含多个像素,每个像素有光电二极管,其具有电荷积累区(“PD”)、浮动扩散区(“FD”)以及垂直位于PD和FD之间的电荷传输区。垂直电荷传输区包括第一电荷调制区(“P1”)、第二电荷调制区(“P2”)和第三电荷调制区(“P3”)。图像传感器可在全局快门模式下工作,P2用作像素内电荷存储区,在电荷从PD经由P1、P2和P3传输到FD期间临时存储电荷。
本专利总体涉及一种图像传感器,更具体是涉及一种具有垂直集成多相电荷转移技术的图像传感器像素,用于在全局快门模式下进行图像捕获。
苹果指出,图像捕获设备(如相机)广泛应用于各类电子设备,像移动设备(智能手机、平板电脑、笔记本电脑等)、机器人设备或安全监控设备等。图像捕获设备有含多个聚光像素的图像传感器,每个像素有光电二极管。它能捕获环境光并传递到图像传感器,像素的光电二极管受光时积累电荷。读出时,用一个或多个晶体管从光电二极管读出电荷,生成模拟图像信号,再转换为数字信号并处理生成图像。
苹果表示,一些实施例中,图像传感器有多个聚光像素,组织成有一行或多行像素和一列或多列像素的像素阵列。图像传感器可以是CMOS(互补金属氧化物半导体)图像传感器、CCD(电荷耦合器件)图像传感器等,是图像捕获设备一部分,而图像捕获设备又是电子设备一部分。图像传感器每个像素至少有一个光电二极管,包括电荷积累区(“PD”)、浮动扩散区(“FD”)以及垂直位于PD和FD之间的电荷传输区。
“每个像素受光时,PD积累电荷或光载流子。读出时,部分电荷从PD传输到FD,在FD上生成模拟图像信号(如模拟电压),通过像素外部的像素输出线进一步访问。某些实施例中,该模拟图像信号进一步处理,如用模数转换器进行模数转换,再由图像信号处理器 (ISP) 进行数字处理,生成一个或多个图像。”苹果强调。
苹果进一步指出,通常图像采集设备可在滚动快门模式或全局快门模式下运行。滚动快门模式下,读出“波”扫过图像传感器时,图像传感器像素阵列不同行在不同时间曝光,像素依次读出,如从像素阵列顶部到底部逐行读取,同一行像素同时读出,同一列不同行像素逐个顺序读出,所以是逐行顺序记录图像,而非一次捕获整个图像。
相比之下,全局快门模式下,所有像素曝光时间相同,即每个像素同时开始和结束曝光,可一次记录整个图像。卷帘快门因不同“线条”在不同时间记录,会导致捕获图像颜色和/或色调变化,在高速摄影或录制等应用中,会严重干扰并影响图像质量。
所以,某些实施例中,全局快门是首选。不过,即使像素同时结束曝光,图像信号仍可能像卷帘快门一样顺序读取,如逐行读取,因此图像传感器需要“存储器”临时存储曝光结束时像素的电荷和/或模拟或数字图像信号,直到读取单个像素。
为解决此问题,一些实施例中,图像传感器每个像素有像素内电荷存储区域。曝光结束时,电荷从像素探测器(PD)转移到该区域暂时存储,直到像素读出。读出时,电荷从该区域转移到荧光检测器(FD),再通过像素输出线访问模拟图像信息。
苹果表示,该图像传感器有多种优势。首先,为每个像素提供像素内电荷存储区域,使图像传感器能以全局快门模式工作。其次,“存储器”集成在像素内,可减少图像传感器组件数量、占用空间,增加传感器像素密度。
苹果强调,所述方法可在不同实施例中以软件、硬件或其组合形式实现。方法各块顺序可改变,可添加、重新排序、组合、省略、修改各种元素等。本领域技术人员受益于本公开内容后可做各种修改和变更。各种实施例仅用于说明,非限制,可进行多种变化、修改、添加和改进。可为组件提供多个实例(单个实例除外)。组件、操作和数据存储边界有一定任意性,特定操作在特定说明性配置中说明,可设想其他功能分配,可能落入后续权利要求范围。
最后,示例配置中以离散组件形式呈现的结构和功能可作为组合结构或组件实现。这些以及其他变化、修改、添加和改进可能落入后续权利要求所定义的实施例范围。
本文来自微信公众号“半导体行业观察”(ID:icbank),作者:编辑部,36氪经授权发布。
本文仅代表作者观点,版权归原创者所有,如需转载请在文中注明来源及作者名字。
免责声明:本文系转载编辑文章,仅作分享之用。如分享内容、图片侵犯到您的版权或非授权发布,请及时与我们联系进行审核处理或删除,您可以发送材料至邮箱:service@tojoy.com






