旗舰长焦卷疯了:Pura80首搭一底双长焦,连续光变来了?
近年来,手机图像的进步是有目共睹的。在一定程度上,旗舰机的图像性能非常接近。 M43 等待小型数码相机。而且在算法介入的情况下,直出的照片质量和观感甚至更好。
除了影像算法的迭代演变,最重要的是硬件性能的提高。更多的传感器和更好的长焦光路设计促进了旗舰机在各焦段的影像性能。
然而,主摄像头传感器的“硬件收入”即将结束。由于手机内存的限制,短时间内很难有明显的突破,这也让很多手机厂商关注长焦。长焦性能作为手机图像的“战略要地”,近年来备受关注,但在华为 Pura80 在系列开始预热之后,更是把讨论推向了一个新的高峰。
由于 Pura80 该系列将采用“一底双长焦”技术,简而言之,只需一个传感器就可以实现两种不同的光变(光变焦)焦段,减少双长焦镜头对手机室内空间的挤压。所以,这项新技术是否会开启国产旗舰机的新一轮长焦技术创新?下面就是雷科技的观点。
事实上,关于一底双长焦的讨论最早是去年。 12 这个月已经出现了。当时微博博主“数码聊天站”透露,一个国产品牌正在测试一个新的长焦计划,将采用。 1/1.3 英尺的超大底多焦段潜望镜结构,当时有猜测会是“一底双长焦”。
而且是前段时间发布的 Pura80 在海报上,这个谣言进一步证明,独特的长焦结构引起了很多人的关注。随后,华为发布的新专利“最终决定”,敲定了“一底双长焦”技术的出现。
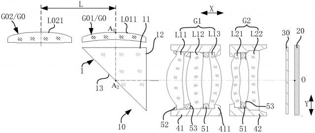
关于华为专利的描述,该镜头由三种结构组成:前镜头组、可移动转弯模块和双后镜头组。通过可移动转弯模块,可以在一个传感器上实现两种完全不同的焦段光路。
以下是专利中展示的结构示意图,方便大家了解:
据描述,这个镜头将会有 F1 和 F2 两个有效焦段,其中 F1 焦段(离传感器更远)将明显大于 F2 焦段,但具体倍数在专利中并未明确表示。但在华为最新发布的演示视频中,可以看到相机界面的预置倍率为" W/1x/2x/3.7x/10x ",其中 W 为了超广角," 1x/2x "这是主摄的变焦倍数, 3.7x 和 10x 就是两个长焦的光变焦段。
Pura80仅从光变焦段的倍数来看。 没有超越现有的旗舰机,达到以前所有人的预测。 20 倍光变化程度(个人判断混合无损变焦的概率很大),那么问题来了,一底双长焦的优点是什么?
事实上,一底双长焦主要解决了双潜望镜头挤压手机内存的问题,通过双潜望镜头通过共享一个传感器和后镜头组的设计,可以节省更多的安装更大尺寸传感器的空间,减少图像模块的“占地面积”和手机的厚度。
然而,这并不是“一底双长焦”技术首次出现在手机上,通过搜索,小雷发现 2021 年发布的 Sony Xperia 1 Ⅲ事实上,索尼已经采用了类似的“一底双长焦”技术,只不过光变焦段是 2.9x/4.4x,与 Pura80 的 3.7x/10x 差距很大。
而且从索尼官方演示的视频来看,Xperia 1 Ⅲ双长焦的一底原理和 Pura80 还有很大的不同。Xperia 1 Ⅲ长焦为“折回棱镜” 固定前透镜组 滚动变焦组 由后透镜组等部件组成,焦段的变化主要依赖于滚动变焦组的移动,因此称之为“一镜双焦段”或许更为合适。
简而言之,你可以做到 Xperia 1 Ⅲ长焦被理解为具有内变焦能力的“镜头”。通过改变变焦镜片组的位置,可以改变光路变化,从而改变焦段。在整个过程中,折回棱镜和前透镜组是固定的。
而 Pura80 就是移动折回棱镜(第一转折元件), G01 与 G02 为了实现焦段的变化,两个前透镜组之间切换。两个方案谁优谁劣,小雷不能肯定,毕竟, Pura80 还没感觉到,但是 Xperia 1 Ⅲ长焦的表现却相当惊艳,机体厚度仅为 8.2mm,只有极小的凸起,影像模块才能完成双焦段长焦。
然而,索尼手机在一底双长焦技术中却是昙花一现,2022年 每年推出的迭代型号 Xperia 1 IV 然后继续变焦技术。原理上其实很像,都是为了实现焦段转换而移动变焦组,但是新的滑轨可以实现轻微的平滑移动,不像 Xperia 1 Ⅲ那样只能在 1 号与 2 号位间移动,但中间区域很难停止。
事实上,小雷在写稿子的时候也看到了很多网友讨论。 Pura80 从专利技术的角度来看,一底双长焦技术是否来自索尼,显然有很大的不同。
在 Pura80 曝光双长焦后,其实还有一个消息引起了很多关注,那就是“持续光学变焦”技术正在测试中,预计今年会出现。当然,这主要是指国内手机厂商。毕竟索尼在。 Xperia 1 IV 已实现持续光学变焦功能。
从 Xperia 1 IV 刚刚发布的 Xperia 1 VII,事实上,索尼的持续光变技术已经升级到第二代,焦段从 85-125mm 升级成 85-170mm,光圈从85-170mm开始 f/2.8-3.5 提升至 f传感器面积为/2.3-3.4 1/3.5 英尺(Xperia 1 IV 同款)。
持续光变技术有哪些优点?非常简单,在 85-170mm 在整个焦距区间内,手机可以获得真正无损的光学变焦拍摄能力,尤其是在录制视频时,这个功能带来的体验提升最为明显。
下面这张图是我用小米的 15 拍摄变焦视频时,可以看到当手机调用不同焦距的画面时,画面变化明显,对焦丢失。在这种情况下,如果你想用手机拍摄变焦视频画面,你必须将倍率限制在一定范围内,否则会导致画面扭曲。
相比之下,你可以看到我用索尼微型相机拍摄的这个变焦视频。除了手持拍摄带来的一点抖动,整个画面的放大非常顺畅,焦点始终保持在 Lecoo 的 logo 上。
事实上,目前很多旗舰机厂商都采用算法等方法,进一步减少了转换镜头对画面的影响,但算法再完美也不如真正的“光学变焦”,而且连续光学变焦技术会给旗舰机带来真正的超长焦视频能力。
当然,持续光变也改善了拍照的感觉。事实上,目前的旗舰机只能在固定焦段提供真正的无损光学拍摄,其他焦段都是通过切割和数字变焦技术完成的。持续光变将在整个焦段之间提供无损画质。
然而,持续的光变也面临许多问题。一是成本。高性能导轨、镜头组和驱动电机价格昂贵,需要处理抗冲击问题。另一种是尾端焦段的小光圈,需要高补偿效率的影像算法,防止录制过程中画面的亮度、对比度等数据发生很大变化。
由一底双长焦到持续光变,很明显,手机厂商已不再满足于定焦镜头和传统长焦镜头,而是逐步向专业相机领域的技术靠拢。在不久的将来,我们可能会看到越来越多常见的单反和微单图像技术逐渐被“移植”到手机上,从而使手机图像真正进入行业领域。
然而,新技术的完善可能需要一段时间。就像鞋底传感器面试的时候,业内人士一度质疑鞋底手机是否真的能兼顾轻薄和散热。双长焦和连续光学变焦也面临着类似的问题:高成本的光电设备,复杂的机械结构带来的耐久性、稳定性问题,以及对算法调整的更高要求,都将成为各厂商必须解决的问题。
无论如何,手机影像的天花板已经再次被打破,而对普通用户而言,手机也越来越接近“口袋相机”的定位。
本文仅代表作者观点,版权归原创者所有,如需转载请在文中注明来源及作者名字。
免责声明:本文系转载编辑文章,仅作分享之用。如分享内容、图片侵犯到您的版权或非授权发布,请及时与我们联系进行审核处理或删除,您可以发送材料至邮箱:service@tojoy.com




