2025年,“蚂蚁”辗压,颈部“混战”,基金代销机构开始洗牌。
近日公布了突出公募销售市场影响力的权威部门排名。
三月十四日,基金行业协会公布了2024年下半年基金销售机构公募基金销售保有规模排名。
在每一个维度上,蚂蚁基金再一次成为“全能”冠军,并且连续增长更是冠军。
2024年下半年,公募基金分销传统强手招商银行“带领”了一批银行,拼命追逐。这引发了准一线“阵营”的强烈洗牌。
此外,东方财富发布的2024年报,更是为这份榜单增添了“解读”。
“马太效应”总量榜突出
蚂蚁基金在分销方面的领先趋势日益明显。
第一,在权益基金保有规模方面,蚂蚁基金以7388亿元排名第一。接下来的追赶者将近一倍。

其次,在非货币市场基金保有规模方面,蚂蚁基金以14529亿元排名第一,而招商银行以9504亿元排名第二,两者与后续的差距仍在拉大。
券商保险冲击银行权益规模
值得注意的是,从权益基金的保有规模来看,头部代销机构的保有规模比公募基金本身的规模排名更加稳定。
前十名依然是蚂蚁(杭州)基金销售有限公司、招商银行、田甜基金、工商银行、建设银行、中国银行、交通银行、中信证券、农业银行、华泰证券。
即使是排名顺序也没有改变。

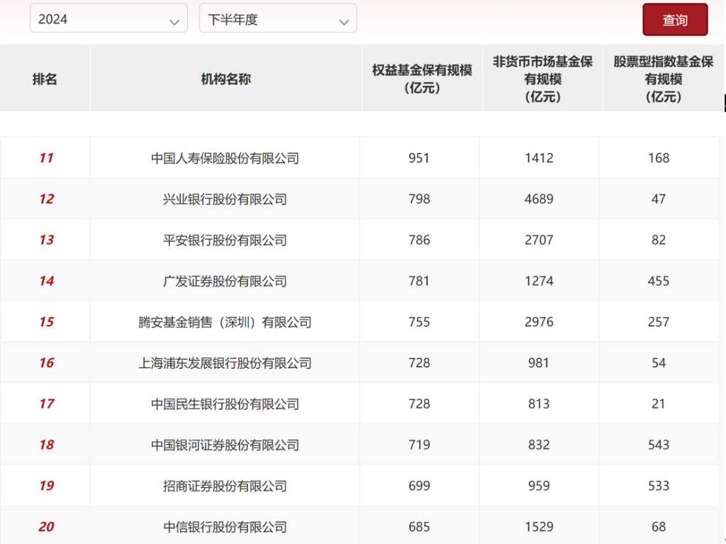
但是,从11-20个“颈部”代销机构来看,变化是显而易见的。
在这一范围内,多家券商和保险公司表现强劲,赢得了部分银行的排名。
中国人寿抢走了兴业银行第11位,兴业银行排名第12位。
另一方面,广发证券大幅上涨4个位置,成为第14名。腾安基金、银河证券、招商证券也各自排名靠前。
相应地,浦发银行、民生银行、中信银行虽然仍处于前20名,但排名较年中有所下降。

中信证券股指成为第二名
从去年备受关注的股票型指数基金来看,头部机构的排名也发生了一些变化。
在前三名中,蚂蚁仍然排名第一。然而,中信证券以其微弱的优势超过了华泰证券,排名第二。华泰证券排名第三。
招商银行排名前两,排名前五。前五名被挤出来的是招商局证券。可以说是招商局系统金融机构的“极限一换一”。
从下半年的增量来看,除蚂蚁基金增加554亿元外,中信证券、华泰证券、招商银行、海通证券、CICC财富、田甜基金、工商银行、国鑫证券、银河证券也增加了100多亿元。
非货“颈”也是乱战
就非货币市场基金而言,前十大变化并不大。只有中信证券才算新进入前十。
具体而言,蚂蚁基金的规模是14529亿元。此后,招商银行以9504亿元的规模“苦苦追逐”。
随后,田甜基金、兴业银行、工商银行、中国银行、建设银行、腾安基金、平安银行、中信证券等非货保有规模在2088-5754亿元之间,各自排名第三至第十。
当你到达“脖子”时,这也是一场混乱的战斗。基金、邮政储蓄银行、交通银行、农业银行、华泰证券、中信银行、宁波银行、中国人寿保险、广发证券、JD.COM肯特瑞基金,非货币市场基金规模在1263-2041亿元之间,规模差距较小,体现了“你为我而战”的姿态,排名相对年中略有调整。
值得一提的是,国金证券和利得基金除了部分头部和颈部机构外,下半年非货保有量增长超过200亿元,排名大幅增长。
每日基金公告更详细的细节
同一天,东方财富最新发布的年度报告显示,每日基金更具体的数据可能是代销机构的一个侧面。
公告显示,截至2024年底,每日基金共推出160家公募基金经理20638只基金产品,非货币市场公募基金保有规模6113.62亿元,股权基金保有规模3823.76亿元。
虽然非货保有的规模有所增加,但是股权基金保有的规模有所下降。
此外,在报告期内,企业网络金融电商平台实现了1.77亿笔基金认购(含定投)交易,基金销售额约1.88万亿元,其中1.11亿笔非货币基金认购(含定投)交易,销售额超过1.08万亿元。
与2023年相比,交易量有所下降,但销售额有所增长。
更令人惊讶的是,与2022年相比,2023年日均活跃数据大幅下降后,这一次,基金服务平台日均活跃浏览用户数量的相关数据没有披露。恐怕这会引起更多的猜测。
本文仅代表作者观点,版权归原创者所有,如需转载请在文中注明来源及作者名字。
免责声明:本文系转载编辑文章,仅作分享之用。如分享内容、图片侵犯到您的版权或非授权发布,请及时与我们联系进行审核处理或删除,您可以发送材料至邮箱:service@tojoy.com




