娃哈哈集团出售“娃哈哈”商标?股东表示惊讶
02-12 11:42
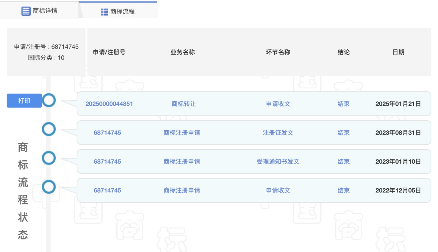
杭州娃哈哈集团有限公司根据国家知识产权局商标局官网,正在转让“娃哈哈”商标。目前“申请收到文件”阶段已经结束,申请日期为2025年1月21日,但商标转让主体未显示。
对于这一事件,一位娃哈哈工作人员表示,“在内部沟通中”,后来没有直接回应。极速财务新闻致电杭州娃哈哈集团大股东“杭州市上城区文化商旅投资控股集团”,工作人员表示惊讶,称“是假新闻”。当被告知信息来源是“国家知识产权局商标局官网”的注册信息时,对方表示需要了解更多信息,然后挂断电话。


本文仅代表作者观点,版权归原创者所有,如需转载请在文中注明来源及作者名字。
免责声明:本文系转载编辑文章,仅作分享之用。如分享内容、图片侵犯到您的版权或非授权发布,请及时与我们联系进行审核处理或删除,您可以发送材料至邮箱:service@tojoy.com




