探索折叠苹果新专利 iPhone 未来,触敏控制将随意实现。
2024-09-21
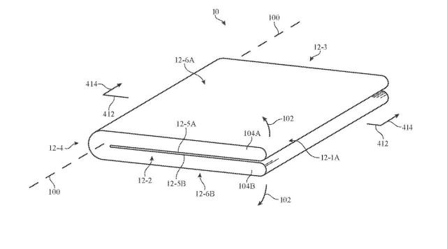
IT 世家 9 月 20 据美国商标和专利局报道,(USPTO)最近公布的清单,苹果获得了一项新的专利,想象着未来的折叠。 iPhone 设计方案,内部所有表面都包含固体按钮进行触敏控制。
这项专利被称为“带有显示屏和触摸传感器结构的电子设备”。用户可以通过触摸、滚动或其他方式轻松控制。 iPhone,其专利设计草图显示采用折叠设计。
苹果说:“从客户那里收集触摸输入,有效地向用户展示图像可能是非常具有挑战性的。例如,当客户向触摸屏显示器提供触摸输入时,客户的手可能会阻挡显示器上显示的图像。”
因此,苹果想象系统的所有表面都有接触控制,内置控制电路、电池等部件。表面可以包括不透明的部分和透明的部分,材料包括不透明塑料、金属和纤维复合材料以及含有纤维、瓷器和其他不透明材料的多层结构。
苹果公司在系统表面铺设微小的金属丝(如纳米结构,人眼可能看不到),然后在任意表面实现触敏控制。
在专利方面,苹果还提供了一些例子,表明这种触摸功能的实际用途是什么。
IT 世家附属专利中描述的用途之一如下:在游戏应用等应用中,用户可以在系统正面显示屏上使用触摸传感器,显示相关视觉信息,同时收集触摸输入。
本文仅代表作者观点,版权归原创者所有,如需转载请在文中注明来源及作者名字。
免责声明:本文系转载编辑文章,仅作分享之用。如分享内容、图片侵犯到您的版权或非授权发布,请及时与我们联系进行审核处理或删除,您可以发送材料至邮箱:service@tojoy.com




