芦渡科技“重卡新力量”,难演“造车新势力”剧本。

在中国汽车行业“换道超车”的浪潮中,商用车领域是一条相对隐蔽的路线。与乘用车的快速发展相比,商用车的电气化仍然方兴未艾。
以重型卡车为例。重型卡车是商用车的关键类型。目前,中国干线物流市场规模已达万亿。但由于市场新需求相对较小,进入壁垒较高,玩家基本都是传统品牌,内燃机重型卡车仍然占据市场主导地位。
即便如此,新能源重型卡车也迎来了商业化的爆发。自2024年以来,“重型卡车新力量”品牌的新产品,如维渡科技、零一汽车、速豹科技等。,聚集在市场上,新能源重型卡车加速了“进入”市场。
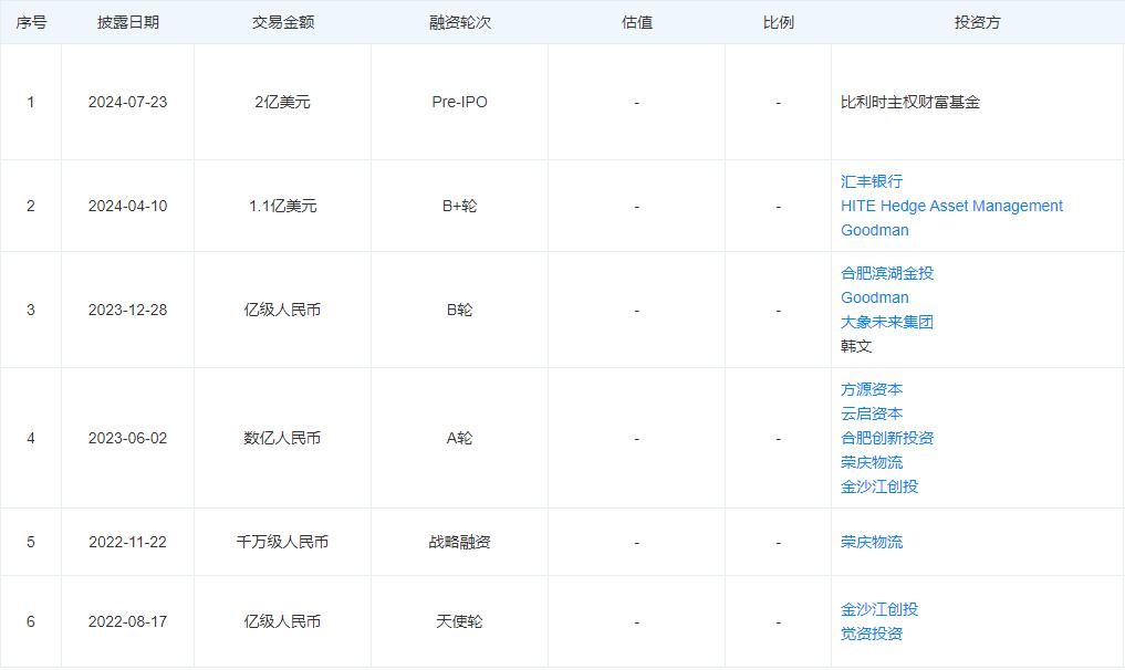
其中,芦苇渡科技最近动作频繁。继4月份发布首款纯电动重卡和首款氢燃料重卡后,芦苇渡科技最近获得了比利时联邦控股和投资公司2亿美元的新Pre-IPO融资,随后宣布高盛集团投资银行部前汽车科技行业负责人Fausto Monacelli正式加入全球顾问委员会。
各种迹象表明,这种“重卡新力量”正在加速全球商业化,冲刺美国股市IPO。问题是芦苇科技成立才两年多,公司的第一款产品才刚刚推出。为什么这么急着上市?
新能重卡武林“水温”99℃,新能源在缝隙之间崛起
芦渡科技作为一家新能源重卡创业公司,成立于2022年。短短两年时间,该公司已经进行了6轮融资。据相关机构计算,芦苇科技目前的估值已经达到10亿美元。相比之下,成立时间仅比芦苇科技晚3个月,前不久完成了A1轮融资。

芦苇渡科技特殊的资本影响力可能与创始人的经验有关。据公开资料显示,芦苇渡科技创始人韩语于2013年至2016年在桥水基金工作;随后,韩语加入金沙江创投硅谷办公室担任合作伙伴,主导对新能源重卡智加科技的投资,随后加入智加科技担任CSO(首席问题官)。&CFO。
离开智加科技后,韩语以投资者的身份“造车”,其简历在整个商用车行业屡见不鲜。作为创始人,风险投资资源促进了芦苇科技的高频融资。然而,韩国选择新能源重型卡车作为创业跑道,显然看中了重型卡车市场的低电气化水平,并希望在汽车电气化浪潮的机会中分一杯羹。
根据高等工业研究所的说法(GGII)根据公布的统计,2024年上半年新能源重卡销量达到2.8万台,市场渗透率达到12.29%。国盛证券认为,在政策方面的不断鼓励下,电动重卡中高渗透潜力应用市场占整体市场的37%,新能源重卡销量有望进一步增长。
在资本眼中,低渗透率和高潜力应用市场的出现代表着较高的市场增长率,所以对新能源重卡赛道持乐观态度的投资者不在少数。比如汇丰银行科技金融部总经理梁宇说:“最近,乘用车领域迎来了电气化的新浪潮。预计这一变化趋势将进一步扩展到商用车领域,尤其是重型卡车的电气化正在迅速上升。”
所以,这条赛道“就像一夜春风”,除了芦渡科技,吉利的远程、零一、DeepWay、载合、速豹等重卡新玩家纷纷获得大量融资,新能源重卡公司掀起了资本狂潮,就像当初的“造车新势力”一样。
新能源汽车和自动驾驶的概念是市场的热门话题。此时申请上市有望获得高估值,吸引更多投资者的关注,芦苇科技赴美IPO的想法自然大大增加。
然而,与火热的金融市场相反,新的力量注定要艰难地前进。
国内重型卡车市场实际上是传统行业主导的股票市场。对此,郭盛证券表示,随着中国重型卡车总数的增加,国内重型卡车需求逐渐从过去的新需求转变为股票更换需求。
国内头部重型卡车制造商既有大型汽车公司,也有大型工程机械公司,其强大的售前渠道和售后维护网络形成了竞争壁垒。根据第一商用车网最新数据,今年以来,中国重型卡车市场CR5达到88.8%,行业呈现集中发展趋势。
在新能源重型卡车方面,经过几年的研发和路试探索,传统汽车公司的转型思路越来越清晰,更大规模的商业化迫在眉睫。此外,近年来,背靠大企业、资源丰富的玩家,如三一重型卡车、徐工重型卡车、宇通集团、远程汽车、比亚迪等也涌入跑道。
越来越多的龙头企业投身游戏,这意味着这条赛道也会加剧。在乘用车电气化的后半段,很多第一、第二梯队的品牌逐渐落后,更不用说市场规模较小的新能源重卡跑道了。从资本的角度来看,上市可能成为短时间内盈利或形成更大规模盈利的最佳选择。
所以,芦苇渡科技还有机会突破吗?
奔向卡车红海市场,新能源重卡难以突破巨头们的“坚墙”
重卡创业公司在头部效应显著的市场中,想要“发展壮大”并不容易。
所以,为了与国内汽车公司形成差异化竞争,芦苇渡科技选择了一条与国内大多数重卡公司不同的商业路面:芦渡科技除中国市场外,主要关注欧美市场。
韩文在一次采访中提到,该公司计划在美国建立一家半挂车厂,预计2025年将在美国市场交付,并计划明年在比利时建立一家装配厂。
同时,从芦苇渡科技的视频号内容来看,公司也积极开展欧美的远程路测。5月,芦苇渡科技纯电动重卡完成了欧洲路测3100公里;6月,芦苇渡科技在美国成功完成了东西岸路测2800公里(4500公里)。
毫无疑问,芦苇渡科技选择了一条独特的出海路线。据交通银行国际证券研究报告显示,国内卡车出口以“一带一路”为主,欧美发达国家销量相对较低。
所以,苇渡科技的“特立独行”能否打造出“中美欧三地头部卡车品牌”,成为国内重卡行业的“黑马”?
只怕不易。
国内大多数企业优先考虑独联体/非洲/东南亚,占领蓝海市场,避开红海市场。
与国内市场格局相似的欧美市场。对于这一点,东吴证券研究报告分析得很清楚:
· 自2009年以来,欧洲市场格局稳定,7大欧洲品牌始终占据90%以上的市场份额,海外品牌难以突破;
·在北美市场,戴姆勒/帕卡/沃尔沃/纳威司达是欧美四大品牌的垄断市场。2023年,戴姆勒/帕卡/沃尔沃/纳威司达的市场份额分别为39.7%/29.6%/16.9%/13.7%,总市场份额接近100%。从长期来看,没有明显的增长趋势,中国品牌很难突破北美市场。
值得注意的是,欧美重卡市场不仅像国内一样具有明显的头部效应,而且很多本土企业都在积极发展新能源重卡。例如,戴姆勒卡车正致力于纯电动和氢动驱动,以促进可持续交通的发展。到2039年,该公司的目标是在其全球核心市场(欧盟30个国家、美国和日本)只提供一款可以在驾驶过程中实现碳中和的新车。
公司的成长需要市场潜力。新能源重卡创业公司在这样一个竞争激烈的成熟市场中的成长环境令人担忧。去年十月,瑞典电动卡车创业公司Volta 在此之前,Trucks宣布将破产,该公司已在欧洲五个国家试点,并受到欢迎。然而,随着沃尔沃和戴姆勒等大型卡车制造商进入新能源卡车跑道,Volta陷入了困境。
与Volta相比,今天的芦苇渡科技不仅面临欧美本土企业的竞争,还与国内一批“内卷高手”展开竞争。从天眼查计算的公司“科技分数”来看,芦苇渡科技的竞争力显然需要提高才能“杀出重围”。
结语
毫无疑问,新能源汽车是未来汽车工业的发展方向。
对于公司的未来前景,芦苇渡科技创始人、董事长兼首席执行官韩文曾说:“我希望这家公司能在重型卡车市场杀出一条血路。事实上,在iPhone出现之前,手机行业被诺基亚和摩托罗拉垄断。所以在中美欧卡车领域,我相信后来者居上,芦苇渡科技很有可能成为中美欧卡车的龙头品牌。”
但必须注意的是,重型卡车和手机、乘用车是两种不同的市场模式,在新能源重型卡车跑道上很难重复智能手机和新能源乘用车的故事。
重型卡车行业的用户更多的是B端用户,尤其是转换成本高的大B端客户,而B端市场更注重业务之间的合作,即以公司为主体的交易关系和长期合作。在过去的十年里,随着国内外重型卡车模式的演变,头部制造商的份额一直保持相对稳定。
芦渡科技的“iPhone时刻”在目前的市场格局中尚未到来。
本文来自微信微信官方账号“美股研究会”,36氪经授权发布。
本文仅代表作者观点,版权归原创者所有,如需转载请在文中注明来源及作者名字。
免责声明:本文系转载编辑文章,仅作分享之用。如分享内容、图片侵犯到您的版权或非授权发布,请及时与我们联系进行审核处理或删除,您可以发送材料至邮箱:service@tojoy.com






