三折还不够!三星四折手机概念曝光:大平板电脑
2025-04-08
快科技 4 月 6 日消息,三星预计今年下半年将推出第一款三折手机,但最新曝光的专利也表明,三星正在积极研究四折手机的设计方案。
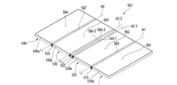
三星的这项新专利描述了一款四折手机的设计,三个折叠区域可以通过整合三个铰链来实现。这种设计不仅支持多种使用形式,还能适应不同的使用场景。
例如,客户可以完全使用手机,并将其变成更大的平板电脑,以享受更多的屏幕视线。或者部分进行,以达到类似苹果的效果。 iPad 的 4:3 屏幕比例,适合阅读和观看视频。
另外,理论上,用户还可以在不同的屏幕上同时运行多个应用程序,大大提升多任务操作体验。
然而,这种复杂的折叠设计可能会增加手机的整体重量,折叠机身的厚度也可能更高,这可能会影响用户的便携性和体验。
为了应对这些问题,三星特别加强了每个铰链的内部结构,以减少折叠和进行过程中的损失,并尽可能减少屏幕褶皱的出现。
到目前为止,还没有关于三星推出四折手机的具体消息。就像所有专利一样,专利并不意味着厂商最终会推出量产产品。
然而,三星未来仍然有可能将专利中探索的技术部分应用到其它实际折叠手机中。
本文仅代表作者观点,版权归原创者所有,如需转载请在文中注明来源及作者名字。
免责声明:本文系转载编辑文章,仅作分享之用。如分享内容、图片侵犯到您的版权或非授权发布,请及时与我们联系进行审核处理或删除,您可以发送材料至邮箱:service@tojoy.com






