未来苹果探索妙控鼠标:从二维输入工具演变为环境感知终端
2025-03-20
IT 世家 3 月 19 科技媒体日新闻 patentlyapple 昨日(3 月 18 日本)发布博文,报道称美国专利商标局正式授予苹果一项专利,涉及未来妙控鼠标的潜在设计升级。
该技术可以通过触觉反馈模拟不同的表面纹理,如沙地和冰面,提高游戏等场景的沉浸感。专利包括 3D 多领域应用,如设计、网页浏览等,希望通过增强物理交互反馈,填补传统鼠标仅限于视觉和听觉感觉的不足。
传统鼠标、游戏手柄等输入设备只能提供基本的触觉反馈(如振动),而苹果专利则通过动态调整摩擦,实现了更加细腻的互动体验。
以前鼠标不能根据屏幕内容调整物理反馈,只能依靠视觉提醒;新技术将触觉与视觉相结合,形成多感官联动。除了游戏,这项技术可以帮助 3D 建模时的精细操作,或者通过触觉帮助视障用户识别网页元素。
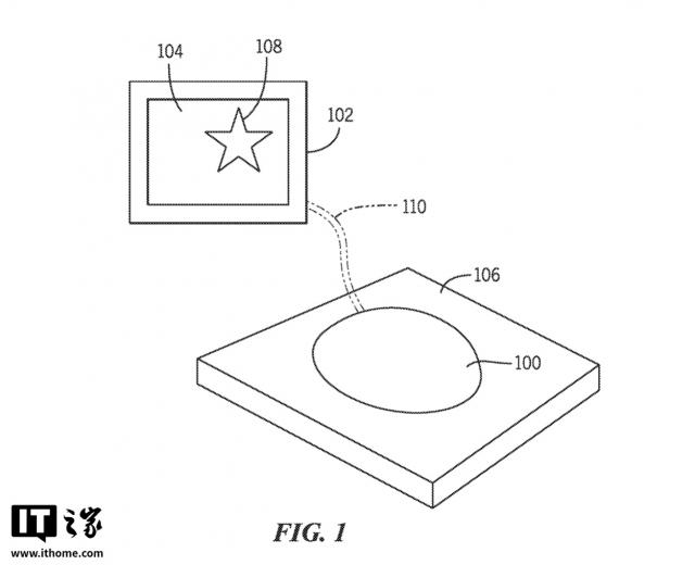
IT 世家援引博文介绍,苹果专利中介绍 3 通过调整鼠标与桌面之间的摩擦,可以立即与屏幕上显示的虚拟环境相匹配:
情景 1:冰面与沙地
当光标移动到屏幕上的“冰面”区域时,鼠标与桌面之间的摩擦保持较低;如果移动到“沙地”,摩擦会增加,模拟真实阻力的差异。
情景 2:动态反馈虚拟环境
当角色在游戏中涉水或背负重物时,鼠标的移动阻力可以相应增加;如果角色处于健康状态,阻力会降低,增强场景代入感。
扩展应用:模拟复杂纹路
除了基础材料外,该技术还可以模拟金属凹凸、虚拟 / 增强三维物体在现实中的手感,甚至调整鼠标水平移动的难度,以匹配游戏状态。
本文仅代表作者观点,版权归原创者所有,如需转载请在文中注明来源及作者名字。
免责声明:本文系转载编辑文章,仅作分享之用。如分享内容、图片侵犯到您的版权或非授权发布,请及时与我们联系进行审核处理或删除,您可以发送材料至邮箱:service@tojoy.com





