苹果专利创新红外线手势跟踪:节能型高精度,低光环境无压力
03-09 09:14
IT 世家 3 月 8 科技媒体日新闻 patentlyapple 昨日(3 月 7 日本)发布博文,报道称苹果获得了新的专利,通过可调红外线照明技术,可以进一步提高其设备的手势跟踪功能。
这种技术不仅适用于 iPhone、iPad、MacBook 等待现有的设备,也可以应用于未来。 Vision 系列设备和折叠设备。这种创新不仅可以降低能耗,还可以显著提高低光环境下的手势识别效果。
据专利说明,在低光环境下,由于红外光对人眼不可见,避免了对周围环境的影响,设备通过发射红外光来帮助图像传感器捕捉客户的手势。
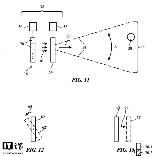
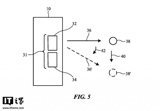
专利设备配置可以调节照明系统,可以实时调节光束的角度和强度,准确聚焦目标对象(如用户的手),从而减少对背景对象的照明,节约能源。
该设备可以通过跟踪用户的手部动作和手指手势,将这些动作转化为输入指令,用于控制虚拟对象移动、菜单选择等操作。
该专利可以通过图像传感器捕捉客户的图像,用于视频聊天或眼睛跟踪。此外,该专利还可用于头部显示设备。手势跟踪系统可以实时捕捉客户的手部动作,并在虚拟环境中呈现相应的虚拟手部,从而增强互动体验。
本文仅代表作者观点,版权归原创者所有,如需转载请在文中注明来源及作者名字。
免责声明:本文系转载编辑文章,仅作分享之用。如分享内容、图片侵犯到您的版权或非授权发布,请及时与我们联系进行审核处理或删除,您可以发送材料至邮箱:service@tojoy.com




