英伟达AR眼镜专利公示:无背光控制户外场景,更轻、更亮、更清晰。
01-05 10:49
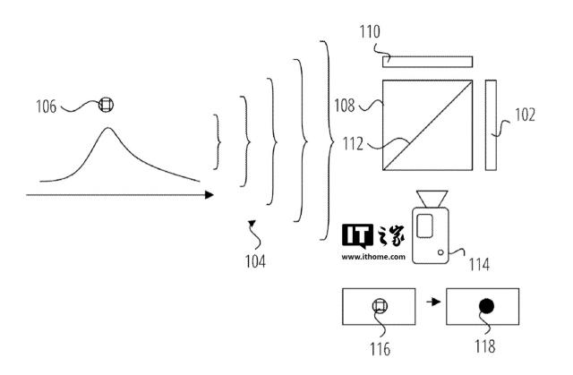
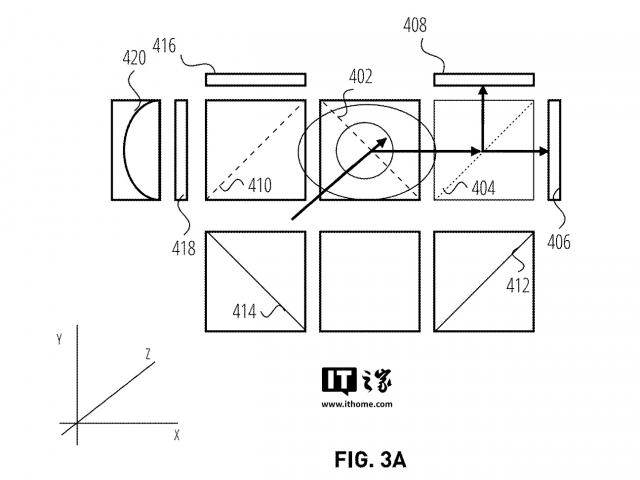
IT 世家 1 月 4 据美国商标和专利局报道, 1 月 2 每日公告,英伟达企业获得“无背光增强现实数字全息”专利,有望创新 AR 眼镜领域。
该专利技术摒弃了传统的背光系统,选择了数字全息和光干扰技术,通过基于深度学习的神经网络控制系统和双视立体显示,显著提高了户外显示效果和互动体验。该专利还介绍了智能阴影技术,通过选择性屏蔽 AR 保留其它区域的自然视觉内容。IT 这个家庭还附有以下截图:
通过整合上述系统和技术,英伟达不仅显著减少了专利,而且显著减少了 AR 眼镜的功耗,还实现了更轻便的设计,带来了出色的户外性能和更自然的视觉体验,有望重塑。 AR 眼镜的未来。这项专利技术不仅解决了户外显示的问题,而且提升了客户体验。 AR 技术的普及和应用奠定了基础。
本文仅代表作者观点,版权归原创者所有,如需转载请在文中注明来源及作者名字。
免责声明:本文系转载编辑文章,仅作分享之用。如分享内容、图片侵犯到您的版权或非授权发布,请及时与我们联系进行审核处理或删除,您可以发送材料至邮箱:service@tojoy.com




