三星专利探索革命性触摸体验:精确振动反馈,多元化交互技术
2024-11-14
IT 世家 11 月 13 科技媒体日新闻 saminsider 昨日(11 月 12 日本)发布博文,报道称三星最新获得专利,介绍了一种新的触觉反馈机制,能显著改善智能手机的触摸感受。
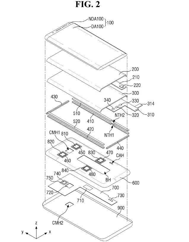
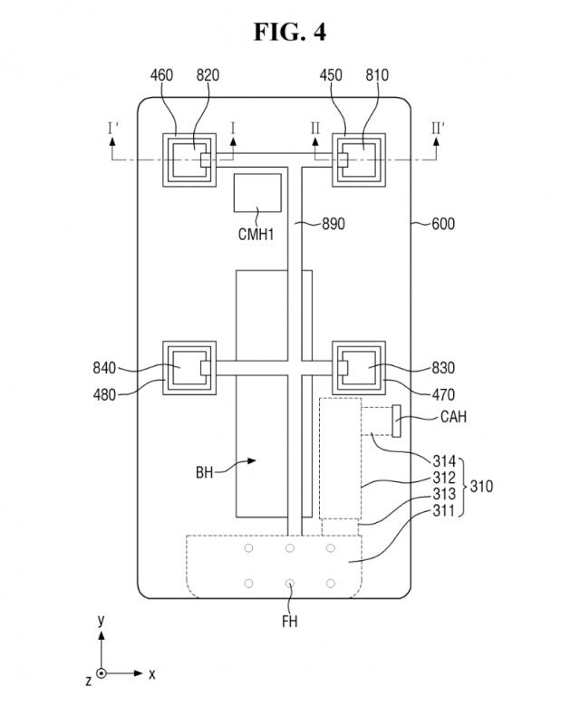
IT 这位世家援引媒体报道,这项专利有利于 2023 年 2 月递交,于 2024 年 11 每月获准,主要概述了一个触觉反馈系统,包括显示面板、触摸和液位传感器,以及分布在显示边缘的小型振动电机。
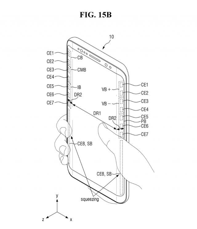
这些传感器和电机将提供精确的振动反馈,以便设备只能在用户与屏幕互动的区域振动。这种设计旨在让客户感觉像是在轻轻按下物理按钮,从而增强使用三星智能手机的沉浸感。
三星希望通过引入精确的振动系统,不仅可以提高用户的体验,而且可以在未来的产品中为用户提供更多的互动方式。
本文仅代表作者观点,版权归原创者所有,如需转载请在文中注明来源及作者名字。
免责声明:本文系转载编辑文章,仅作分享之用。如分享内容、图片侵犯到您的版权或非授权发布,请及时与我们联系进行审核处理或删除,您可以发送材料至邮箱:service@tojoy.com




