总体竞拍北京顺义180套枫桥别墅,起拍价14.11亿元,涉泰和集团负债。
十一月十一日,据阿里资产信息显示,北京市顺义区枫桥别墅180套别墅项目(含1套会所)将于11月25日10时进行整体竞拍,申请执行人为我国信达资产管理有限公司福建分公司,起拍价约14.11亿元,担保金需缴纳1.4亿元,涨价幅度为700万元,竞拍物评估价格约20.16亿元,目前无人报名参加竞拍。
该项目被福建省福州市中级人民法院查封,该项目的建筑面积为102347.34平方米。投标人为北京新东飞祥义商务咨询有限公司(原名:北京东飞祥义投资有限公司)、北京瑞顺鸿业房地产开发有限公司(曾名:北京瑞顺鸿业资本管理有限公司)、北京精达房地产开发有限公司
根据披露的信息,该项目闲置了很长时间,路面上长满了杂草。其中,北京瑞顺鸿业房地产开发有限公司名下注册了134套,北京精达房地产开发有限公司和北京新东飞祥义商务咨询有限公司分别注册了46套。
申请执行人中国信达资产管理有限公司福建分公司与北京瑞顺鸿业房地产开发有限公司、北京精达房地产开发有限公司有债权关系。北京瑞顺鸿业房地产开发有限公司和北京精达房地产开发有限公司作为共同债务人,为泰和投资、黄其森和叶荔(黄其森的妻子)提供连带担保。此外,该债务还由北京新东飞祥义商务咨询有限公司100%股份、瑞鸿地产100%股份、精达地产52.5%股份、泰和公司8000万股份担保;北京新东飞祥义商务咨询有限公司名下的8栋别墅和京瑞顺鸿业地产开发有限公司名下的91栋别墅提供质押担保。
数据显示,枫桥别墅的开发商是北京精达房地产开发有限公司,该公司于1993年获得该地块,并于2002年9月获得预售许可证,共建187栋别墅。
2005年共有188套开发建设项目,位于顺义马坡六环路与京顺路交界处,别墅面积400平方米-800平方米。根据房地产经纪人目前挂出的销售信息,别墅均价为每平方米28385元。
据早年媒体报道,由于项目销售不畅,项目公司资金紧张,项目在建设过程中出现基础松动等质量问题,采取了一些非常规措施,使项目陷入复杂的经济纠纷。
自2007年以来,枫桥别墅的房地产相继被拍卖。2007年6月11日,香港上市公司瑞安建业(00983年)枫桥别墅76套房产.HK)中华汇房地产附属公司以竞拍方式收购,总价3.038亿元,转换成交价约7108元/平方米。此前,中华汇房地产已以多种方式获得142套枫桥别墅和1套会所。
当时,瑞安建业董事总经理黄月良表示,该公司计划每平方米投资3000元翻新枫桥别墅。预计第一批项目翻新期不超过6个月,当年年底最早可以上市,售价估计为1.6万元/平方米。澎湃新闻(www.thepaper.cn)翻看2008年瑞安建业中期报告,发现在这份中期报告中,公司为枫桥别墅做了新的安排,表示将优化项目,预计2009年第四季度开盘销售。
但是此后瑞安建业并没有对别墅进行进一步的开发建设。
2010年2月,瑞安建业向北京亿达房地产开发有限公司出售了142套枫桥别墅和1套会所,并成立了北京瑞顺鸿业房地产开发有限公司,是北京新东飞祥义商务咨询有限公司的全资子公司。
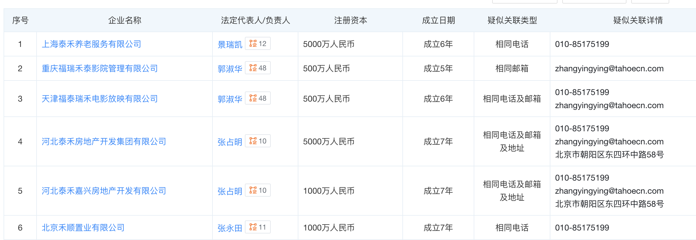
值得一提的是,根据天眼查披露的信息,北京精达房地产开发有限公司的许多信息与泰和集团相同,如工商信息中的联系方式和电子邮件地址。许多经理曾在泰和集团和泰和投资的相关公司工作。
根据知情人士向澎湃新闻证实,上述公司的确与泰禾集团有着密切的联系,是泰禾集团的关联公司。
本文仅代表作者观点,版权归原创者所有,如需转载请在文中注明来源及作者名字。
免责声明:本文系转载编辑文章,仅作分享之用。如分享内容、图片侵犯到您的版权或非授权发布,请及时与我们联系进行审核处理或删除,您可以发送材料至邮箱:service@tojoy.com




