微软新专利:能“听声”自动校准手感的触控板
IT之家11月18日消息,科技媒体Windows Latest于11月17日发布博文,报道称微软已申请名为“声感 - 触觉一体式”(haptic - sonic)的触控板专利,目标是挑战苹果MacBook的Force Touch压力触控技术。
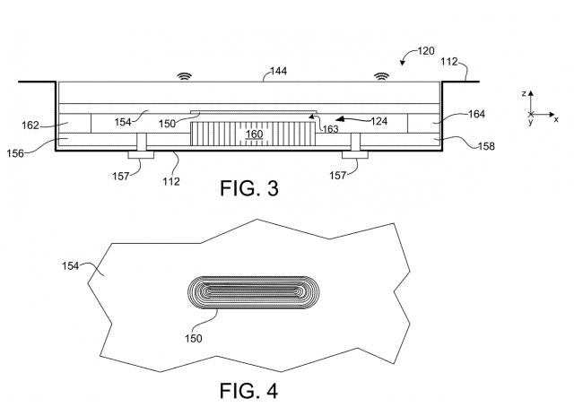
据IT之家援引博文介绍,与传统触控板的物理下沉结构不同,新专利和苹果Force Touch类似,都采用触觉反馈马达来模拟真实的点击感,但微软在此基础上更进一步。

该专利最核心的亮点是引入了“自我感知”能力。系统会利用笔记本电脑的内置麦克风,实时捕捉用户每次点击触控板时由触觉马达产生的“点击声”。

之后,Windows系统或固件会将这个声音与一个预设的“目标”参考音进行比较,这个参考音代表了全新、完美调校状态下触控板应有的声音和感觉。
通过这种声学比对,系统能够精确判断当前触觉反馈的性能表现,从而实现自动微调,补偿因硬件老化或机身结构变化带来的手感差异。
微软的这套系统还有一套巧妙的容错与备份方案。如果系统通过麦克风分析发现,触控板产生的点击声存在异常,便可判断其内部的触觉致动器可能出现故障或性能衰退。

此时系统不会让用户体验中断,而是会自动切换到备用方案。一种方案是调用设备的扬声器来播放模拟的点击音效,以声音弥补触感的缺失。这种“声感”与“触感”的智能切换,是苹果及其他厂商尚未公开探索过的创新领域。

这项专利的目标不止于优化单一设备。微软计划将这种触觉信号转化为一个通用的“触觉事件”,使其不再局限于触控板本身。当系统完成自我校准后,操作系统可以在后台智能决策,在最合适的设备上播放这个“触觉事件”。
例如,当触控板工作正常时,由它提供振动;一旦检测到故障,相同的触觉反馈模式可以无缝地转移到连接的触觉鼠标、游戏手柄或其他支持的外部设备上,这一构想旨在为用户打造一个持久且跨设备一致的触觉交互体验。

本文仅代表作者观点,版权归原创者所有,如需转载请在文中注明来源及作者名字。
免责声明:本文系转载编辑文章,仅作分享之用。如分享内容、图片侵犯到您的版权或非授权发布,请及时与我们联系进行审核处理或删除,您可以发送材料至邮箱:service@tojoy.com





