三星新专利曝光:手机屏幕“按哪儿震”
2024-11-13
IT 世家 11 月 11 据日报报道,三星电子申请了一项新的专利,表明它正在开发一种显示技术,可以提供更准确的触觉反馈。这项技术有望进一步提升智能手机的体验,尤其是依靠触觉反馈的用户。
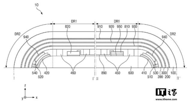
据 IT 根据专利文件,三星的这项新技术涉及到一个显示屏,可以在触摸位置准确提供振动反馈。通过在屏幕边缘布置多个小振动单元和液位传感器,当用户触摸屏幕时,只有触摸区域才会产生振动反馈。这样,用户在触摸屏幕时可以体验到音量调节、电源开关或应用启动等真实的按钮反馈。
三星在专利文件中解释说,随着触摸技术的普及,物理按钮逐渐被淘汰。这项新技术可以为用户提供更直观、更准确的触摸体验。
值得一提的是,三星最近还申请了三折手机专利。虽然三星不是第一家推出三折手机的厂商,但这项专利表明三星计划与华为等竞争对手竞争。
本文仅代表作者观点,版权归原创者所有,如需转载请在文中注明来源及作者名字。
免责声明:本文系转载编辑文章,仅作分享之用。如分享内容、图片侵犯到您的版权或非授权发布,请及时与我们联系进行审核处理或删除,您可以发送材料至邮箱:service@tojoy.com




